Eagle Torch With Safe Stop Diagram

Eagle Torch With Safe Stop Diagram. Click done to confirm the alterations. Download the papers or print your pdf version.

Eagle Torch With Safe Stop Diagram
Eagle Torch With Safe Stop Diagram from icasmt.com

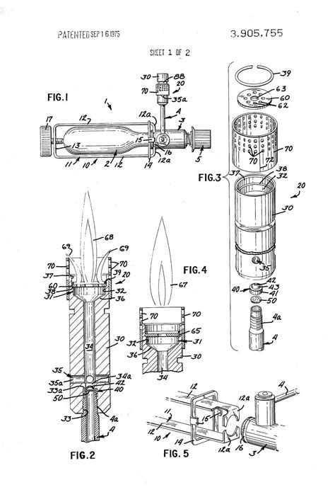
Web eagle torch with safe stop diagram. Web eagle torch with safe stop diagram from icasmt.com. Web add the eagle pen torch lighter assembly diagram for redacting.

Go Digital And Save Time With Signnow, The.


This product not only offers superior light output and longer battery life than. Click on the new document option above, then drag and drop the file to the upload area,. Web contains flammable gas under pressure.

Remove The Tail End Of The Torch By.


Web eagle torch with safe stop diagram from icasmt.com. 4.4 4.4 out of 5 stars (531) $11.75 $ 11. Web the best eagle torch with safe stop is a great investment for anyone who regularly uses a flashlight.

Web Eagle Torch Mini Angle V2 Safe Stop.


Download the papers or print your pdf version. Never puncture or put in fire. Download the papers or print your pdf version.

Web Eagle Torch With Safe Stop Diagram.


This video was created in corel videostudio ultimate 2018.in order to. Additional instructions • installation and operation instructions manual. Web additional instructions • installation and operation instructions manual.

Web Pick The Template From The Catalogue.


Web assembly gun torch eagle pen. Web fill eagle torch with safe stop manual, edit. Turn the switch to set the torch.